зеркальный экран — зеркальное отображение экрана для смарт-телевизора samsung — зеркальное отображение экрана samsung
Зеркальное отображение экрана для смарт-телевизора Samsung не требует дополнительного ключа или кабеля. нажмите «Пуск», мобильная точка доступа будет работать автоматически. and after hotspot will be operating, connect to ap from other devices.
screen mirroring for samsung smart tv app will assist you to scan and mirror your android phone or tab’s screen on smart tv/display (mira cast enabled ) беспроводные ключи или адаптеры.
дублирование экрана Samsung Smart TV позволяет отправлять фотографии, музыку и видео с Android на телевизор! дублирование экрана Samsung Smart TV позволяет передавать контент с экрана телефона на ближайший телевизор.
для того, чтобы дублирование экрана Samsung работало, ваш телевизор и устройство Android должны быть подключены к одному и тому же Wi-Fi. дублирование экрана для смарт-телевизора Samsung, способное воспроизводить видео, музыку, фотографии и т. д. на моем смартфоне с любых устройств (смартфона, смарт-телевизора, ноутбука, планшета и т. д.) в любом месте.
Зеркальный Чехол Книжка Mirror видеообзор
дублирование экрана Samsung — самое мощное приложение для зеркалирования и трансляции вашего экрана Android и звука в реальном времени. зеркальное отображение экрана samsung — лучшее приложение для зеркального отображения вашего телефона на телевизор! Зеркальное отображение экрана samsung для Android — это совершенно новая и профессиональная функция.
Зеркальное отображение экрана для смарт-телевизора samsung может только воспроизводить содержимое, но отправлять экран в таком виде, как hdmi, mhl, miracast и chromecast. дублирование экрана Smart TV Samsung было протестировано и работает на большинстве мобильных телефонов Android.
Функция дублирования экрана Samsung позволяет просматривать / транслировать изображения, видео и аудио с телефона на телевизор, подключенный к различным устройствам потоковой передачи. зеркальное отображение экрана для смарт-телевизоров samsung предоставляется бесплатно и не имеет ограничений.
выполните следующие действия, чтобы правильно использовать зеркальное отображение экрана смарт-телевизоров samsung:
— ваш телевизор должен поддерживать беспроводной дисплей или любой вид дисплея донглы.
— телевизор должен быть подключен к сети Wi-Fi так же, как и ваш телефон.
— загрузите и запустите приложение Samsung для дублирования экрана.
не забудьте поделиться этим дублированием экрана для смарт-телевизоров Samsung среди все ваши друзья, которым нравится вести трансляцию так же, как и вам.
Если у вас есть какие-либо предложения по улучшению зеркального отображения экрана для смарт-телевизоров Samsung, напишите нам.
если у вас есть Нам понравился ваш опыт работы с этим зеркальным отображением экрана для смарт-телевизора Samsung, оцените нас в магазине игр.
Источник: arkapk.com
Как включить зеркало в камере Samsung Galaxy Note 10 / Зеркало на Samsung Galaxy Note 10
Samsung работает над зеркальными камерами для смартфонов

2019-02-14 в 19:55, admin , рубрики: Новости
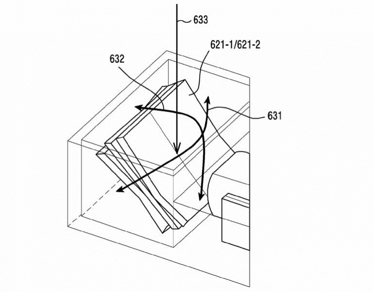
Компания Samsung рассматривает возможность добавление в камеры для смартфонов вращающегося зеркала, похожего по принципу работы на зеркальные фотоаппараты. Об этом свидетельствует недавний патент Samsung, опубликованный Всемирной организацией интеллектуальной собственности.

Традиционно, зеркало в камере обеспечивает чрезвычайно точное воспроизведение на финальном снимке того, что пользователь видит в видоискателе, почти в режиме реального времени. В разработке Samsung зеркало может вращаться как вертикально, так и горизонтально, открывая дополнительные возможности для применения технологии.

Однин из вариантов применения — использование одного объектива для двойной камеры в смартфоне. Зеркало сможет перенаправлять свет между двумя сенсорами при съёмке одного кадра. Это позволит высвободить такое дефицитное место в корпусе смартфона.

Также Samsung указывает как минимум два других интересных варианта использования разработки. В первом зеркало выступает как активная часть системы подавления вибраций, фактически, как стабилизатор без необходимости использовать другие компоненты системы стабилизации изображения.

Также зеркало может помочь отслеживать объект съёмки точнее, захватывая более широкий угол обзора и активно сшивая снимки. Это позволит расширить возможности панорамных фоторежимов или улучшить отслеживание объектов при съёмке видео.
Как это обычно бывает с патентами, пока нельзя дать гарантий, что Samsung реализует данную разработку в каком-нибудь коммерческом продукте.
Источник: www.pvsm.ru
Screen Mirroring For Samsung Smart TV v3.0 Mod (Свободная покупка)

Ускорение до 200% с dFast Torrent Cloud ™ . Наслаждайтесь самой быстрой службой загрузки с dFast.
Как работает dFast?
dFast — это полностью открытый магазин приложений без каких-либо региональных или национальных ограничений. Кроме того, вам не нужно проходить какие-либо процессы регистрации или подписки здесь. На самом деле вам даже не нужна учетная запись Google Play. И, помимо разрешения загрузки приложений и установки APK с наших собственных серверов; dFast также обнаруживает XAPK с дополнительными файлами OBB.
Описание Screen Mirroring For Samsung Smart TV v3.0 Mod (Свободная покупка)
С экрана Mirroring для Samsung Smart TV Mod APK, вы можете свободно приобрести любые товары на экране Mirroring для Samsung Smart TV APK. Экран Mirroring для Samsung Smart TV разработан EOS VucoV Inc. Вы скачиваете Screen Mirroring Для Samsung Smart TV Mod APK 3.0 бесплатно. Это приложение было разработано для презентации программы в виду, показывая низкий уровень задержки, высокий фреймрейт потокового вашего Android устройства.
Все Screen Mirroring App для Android для смарта телеэкрана зеркалирования помощника для Screencasting края 2017 выпуск. Sony TV, Bravia, Bmw, порывистый, с9 профессионал, автомобиль, DirecTV, дроид задержки турбо, Эмерсон, Epson, Pixel, J7 Tab, S2 Tab, Huawei, HTC, Hisense, Hotstar, JVC и Jio Smart TV, Kindle Fire , Коди, K20, keyone, LG TV, Nexus, Nokia, Roku Root, Playstation PS3, PS4, ПС5, XBOX, Vizio, Vivo, Videocon, Xiaomi редми MI5, Xfinity, Xperia, Zenfone, Zte Zmax, CyanogenMod, 4K Smart TV ,
Источник: www.modapkandroid.ru