Шёл я, значит, мимо дачной помойки. (не правда ли, многообещающее начало?) В общем, добры-люди выкинули на эту самую помойку телевизор Таурус, ламповый, чёрно-белый, все дела. кинескоп уже в стороне валяется, ну, как тут мимо пройдёшь? В общем, телевизор быстро отправился мне на дачу.
Не нужно осуждающих взглядов, приберегите пренебрежительные возгласы, я давно хотел найти детали из лампового телевизора! Как минимум 10-20 баксов я сэкономил, в прочем, дело не столько в экономии, я бы с удовольствием и потратился на чистенькое и заведомо исправное, и не тратил бы день на распайку поржавевшего барахла, если бы было где всё это запросто так пойти и купить. Временами, у меня складывается впечатление, что я чуть ли не единственный в городе, кому все эти лампы вообще нужны. Не знаю, в прочем, но на барахолках на меня смотрят временами очень искоса. Ладно, разговор не об этом, разговор о добытых из телика деталях, среди которых наряду с дефицитными у меня неонками, трубчатыми кондёрами и мощными резисторами, конечно обнаружился строчный трансформатор, телевизионный выходник ТВЗ и сетевой трансформатор ТС-180-2, о котором и пойдёт сегодня речь.
⚡ ВЫСОКОВОЛЬТНЫЙ ТРАНСФОРМАТОР ТДКС ⚡ Что с ним можно сделать?
![]() |
| Вот такой вот телевизор. Панельки, к сожалению, в нём безобразные. |
Ламповый сетевой трансформатор ТС-180-2
Итак, начну с того, что транс этот достаточно известный, в сети о нём много информации, ссылками я поделюсь, так что скорее пишу обобщение собственного опыта. Есть тут у меня пара слов.
Сердечник стержневой. В качестве сердечника используется стальная лента. Создаётся впечатление, что трансформатор как бы двойной, все выводы продублированы на левой и правой половине трансформатора. Вывод 3 и 3′ отсутствуют.
Вообще, есть много разновидностей этого трансформатора, от ТС-180 ТС-180-2 отличается немного другим количеством витков, это не принципиально для моих экспериментов. Если у вас трансформатор ТСА-180, то тогда в его обмотках использован алюминий, вот здесь надо уже с умом подходить к использованию, на сколько я знаю, алюминий выдерживает меньшие токи.
| ТС-180-2 в сравнении с лампой 6П14П и платой Arduino Nano |
Более подробно о трансформаторах типа ТС-180 советую почитать здесь:
На форумах сей транс сильно ругают. Говорят, что гудит и вообще-вообще. Я ничего не могу сказать, так как только разобрался с его подключением. Надеюсь, что в этих разговорах больше аудиофилии. Свой я готовлю для строительства стабилизированного БП. Да-да, я всё-таки решил его построить.
Но об этом речь ещё впереди.
Как подключать?
Обмотки 1-2 и 1′-2′ по отдельности рассчитаны на 110 вольт. Для наших 220 вольт их надо соединить. Выводы 2 и 2′ соединить проводом. 220 вольт подавать на выводы 1 и 1′.
Предварительно, конечно, я рекомендую сделать следующее:
| Вот так соединяются сетевые обмотки |
— Прозвонить все обмотки, чтобы убедиться в отсутствии КЗ. Мой трансформатор найден на помойке, так что это особенно актуально!
— К одной из накальных обмоток подключить обмотку 6,3 вольта от другого силового трансформатора и измерить в таком состоянии напряжения на всех остальных обмотках. Не уверен, что можно долго держать трансформаторы в таком состоянии. В накальной обмотке витков мало, так что ток там недетский — более ампера точно, мой 1-амперный стрелочник зашкалило. Значения напряжений скорее всего будут меньше номинальных, это нормально, так как обмотка 6,3 вольта не предназначена для того, чтобы быть первичной.
Если ничего не замкнуло, а включать я советую через плавкий предохранитель, можно переходить к испытаниям на 220 вольт.
Не будет излишним напомнить об опасности работы с сетевым напряжением. Будьте предельно внимательны и аккуратны, подключая трансформатор в сеть. Я считаю, что плавкий предохранитель, включённый последовательно с трансформатором в данном случае обязателен к использованию.
И вот включил я свой трансформатор в сеть и тут знакомая синяя вспышка на столе, предохранитель не просто перегорел, он разбрызгался внутри колбы.
Это меня очень сильно насторожило. Правда, предохранитель был какой-то неизвестно откуда, но на нём значилось 2А, что заставило задуматься ещё больше. Ведь если через трансформатор течёт ток больше двух ампер, то что-то в этом трансформаторе, вполне себе, может идти не так.
| Видно, как проволочку внутри предохранителя просто разбрызгало по стенкам. |
Я решил, что витки внутри могло где-то и замкнуть. Хотя обе первичные обмотки показывали одинаково 4,7 ома. В теории, могут быть замкнуты и витки в любой вторичной обмотке, создавая короткое замыкание. Я всё перепроверил и ещё раз перепроверил — ничего.
Были, правда, соединены выводы 7 и 7′, на всякий случай я их распаял, но вряд ли это могло как-то сказаться на потреблении тока, ведь это разные обмотки. Более того, я их ещё буду замыкать в перспективе, чтобы получить большее напряжение.
Для поиска неисправности, я решил использовать метод включения через настольную лампу, которым пользовался при наладке своего импульсного БП Конструкция из оголённых проводов на столе росла, меня это напрягало, но деваться было некуда. Лампочку я подключил, а в разрыв включил стрелочный амперметр (кстати, достал я из коробки его как раз на этом этапе).
Цифровой включать было жалко. Вставил новый предохранитель на 3 ампера. Включил. Лампочка загорелась бледно-красным светом, ток немного скакнул при пуске и вернулся почти на исходную. Всё работало.
Мне бы очень хотелось иметь ЛАТР для таких целей, но его, увы нет. Я решил вместо лампочки теперь включить резистор на 5 Вт и 10 ом. Для сравнения, у лампочки «на холодную» сопротивление где-то ом 90. Включил через резистор. Ток скакнул и держался уже в районе 100 мА.
Неплохой такой ток холостого хода. Ну вот теперь я решил, что пора рискнуть включить в сеть без ничего.
И вот тут при включении стрелка амперметра шарахнулась в противоположный угол. Я напомню, что он у меня всего на ампер (если честно, у него даже стрелка в ноль не выставляется, купил за копейки на барахолке, так что за точность не ручаюсь, зато не жалко). Стрелка с шумом стукнулась о противоположный край шкалы и вернулась назад. Ничего себе пусковые токи!
Подозреваю, что первый предохранитель просто не выдержал такого обращения. А этот 3-амперный держится молодцом. Я аккуратно измерил напряжения на всех обмотках несколько раз. Они оказались несколько иными, чем написано на трансформаторе, при чём в большую сторону. Думаю, это связано с отсутствием нагрузки.
Вместо 59,5 — 63 вольта и вместо 43,5 — 46 вольт соответственно. Накалы — 6,3, хотя заявлено почему-то 6,4.
| Маркировка обмоток, вдруг у кого стёрта. |
В общем, вывод: Запускайте ламповый трансформатор через предохранитель, рассчитанный на ток несколько ампер, сначала лучше через лампочку!
Ну, а у меня на этом пока всё. Посмотрим, на что годится этот зверь, но сегодняшние испытания несколько настораживают. В заключение, нашёл видео, как соединять обмотки. Автор только перепутал про алюминий в обмотках, алюминий, повторюсь, в ТСА-180.
Источник: dmitry-emelyanov.blogspot.com
Что делать с трансформатором из телевизора?
Трансформаторы из старых телевизоров могут быть полезными для многих проектов, но если вы не знаете, как ими пользоваться, они могут просто скопиться в углу вашего гаража или подвала. В этой статье мы рассмотрим несколько способов использования трансформаторов из телевизоров.
Что такое трансформатор?
Прежде чем начать, давайте разберемся, что такое трансформатор. Трансформатор — это устройство, которое изменяет напряжение переменного тока (AC) с одного уровня на другой. Они используются в различных электрических устройствах, включая телевизоры. Трансформаторы из телевизоров могут быть полезными для многих проектов, таких как усилители мощности, инверторы и т.д.
Как использовать трансформаторы из телевизоров
Увеличение/уменьшение напряжения
Трансформаторы из телевизоров могут быть использованы для увеличения или уменьшения напряжения переменного тока. Это может быть полезно, например, для создания стабилизатора напряжения, который будет поддерживать постоянный уровень напряжения в сети.
Инверторы
Также трансформаторы из телевизоров могут быть использованы для создания инверторов. Инверторы преобразуют постоянный ток (DC) в переменный (AC). Это может быть полезно, например, для использования в солнечных батареях, когда вы хотите получить переменный ток из постоянного.
Усилители мощности
Трансформаторы из телевизоров можно использовать для создания усилителей мощности. Усилители мощности нужны для увеличения мощности звука, например, в колонках или наушниках. Трансформаторы могут помочь увеличить мощность звука, что делает его более громким и ясным.
Выводы
Трансформаторы из старых телевизоров могут быть полезными для многих проектов. Но прежде чем использовать их, необходимо убедиться, что вы понимаете, как они работают и как их использовать. Помните, что эти устройства могут быть очень опасными, поэтому всегда следуйте правилам безопасности при работе с ними. Если вы не знаете, как использовать трансформаторы из телевизоров, лучше всего обратиться за помощью к профессионалам.
Источник: palitrabazar.ru
Blog and Bux

Отслужившие свой век старые ламповые телевизоры ныне все чаще выбрасывают на свалку. Между тем в них остается много ценных и вполне пригодных деталей, в частности, трансформаторы, вновь намотать которые сумеет далеко не каждый. Для нас представляют, в первую очередь, интерес выходные трансформаторы кадровой развертки, имеющие небольшие габариты и массу. Их существует несколько разновидностей (см. таблицу 1).

Наиболее простой «кадровик» марки ТВК-70Л2 имели самые старые телевизоры (с углом отклонения лучей 70°). Он снабжен всего двумя обмотками — I и II. Первичная I с выводами 1 и 2 содержит 3000 витков провода марки ПЭВ-1 диаметром 0,12 мм. Вторичная II с выводами 3 и 4 имеет всего 146 витков провода той же марки, но уже диаметром 0,47 мм. Если обмотку I включить в сеть, на обмотке II появится переменное напряжение, чуть превышающее 10 В. Выпрямив его, мы будем иметь постоянное напряжение порядка 14 В. От этого трансформатора можно отбирать ток, не превышающий 0,5 А. С ростом тока выпрямленное напряжение заметно снижается.
Остальные трансформаторы — от более современных телевизоров (с углом отклонения 110°). Они имеют уже не две, а целых три обмотки. Впрочем, обмотка III нам вряд ли потребуется. Дело в том, что напряжение на ней слишком велико (порядка 30 В). Да и намотана она чересчур тонким проводом, что весьма ограничивает потребляемый ток.
Трансформаторы ТВК-110ЛМ и ТВК-110Л-2 имеют близкие параметры. По габаритам и массе они лишь чуть больше предыдущего трансформатора. Но их обмотка II способна после выпрямления сформировать на конденсаторе постоянное напряжение, близкое к 18 В. От этой обмотке можно отбирать (через выпрямитель) до 0,4 А постоянного тока.
Кадровый трансформатор марки ТВК-1 ЮЛ-1 — наиболее мощный из всей этой четвертки. Его габариты и масса, естественно, превышают те же показатели остальных «кадровиков». Однако напряжение на его обмотке II высо-ковато, что нередко сдерживает область его применения. Ведь обычно в быту нам бывает нужно напряжение в пределах всего 9. 12 В, а часто и еще ниже — 3. 5 В. Данный же трансформатор после выпрямления способен обеспечить постоянное напряжение около 30 В (при токе до 1 А).
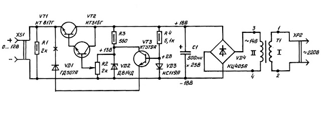
Чтобы выходное напряжение источника осталось неизменным при колебаниях напряжения сети и потребляемого тока, блок питания должен обязательно содержать электронный стабилизатор. На базе кадрового трансформатора от старого телевизора можно собрать такой универсальный источник. Он способен обеспечить ваши самоделки стабилизированным постоянным напряжением до 12 В при потребляемом токе до 0,3 А. Выходное напряжение этого блока питания имеет незначительные пульсации, поэтому к нему можно смело подключать любую радиоаппаратуру, включая высококачественную. Блок снабжен защитой от короткого замыкания (КЗ), что надежно предохраняет подключаемый аппарат от выхода из строя из-за пробоя регулирующего транзистора в стабилизаторе.

Блок питания (см. рисунок) содержит кадровый трансформатор ТВК-110ЛM (ТВК-110Л-2) Т1, выпрямительный диодный мост VD4 и оксидный конденсатор С1, на котором формируется постоянное напряжение 18 В. Стабилизатор собран на резисторах R1—R3, транзисторах VT1, VT2 и стабилитроне VD2. При верхнем (по схеме) положении движка переменного резистора R2 на гнездах XS1 присутствует напряжение около 12 В, а при нижнем — около нуля. Если в вашем распоряжении окажется готовый составной транзистор (допустим, КТ829А, КТ972А), транзисторы VT1, VT2 можно заменить одним таким. Его базу соединяют с движком переменного резистора R2, а эмиттер и коллектор подключают так, как включены одноименные электроды транзистора VT1.
Контур, содержащий диод VD1, транзистор VT3, стабистор VD3 и резистор R4, образуют узел защиты транзистора VT1 при коротком замыкании гнезда XS1.
Работает он так. Цепь, состоящая из резистора R4 и стабистора VD3, постоянно стремится открыть транзистор VT3. Однако закрытый выходным напряжением диод VD1 мешает этому. Более того, потенциал эмиттера транзистора VT3 выше потенциала его же базы. Значит, если даже попытаться замкнуть перемычкой диод VD1, транзистор VT3 все равно остается закрытым. (Замыкать диод VD1 на практике не рекомендуется — он нужен для повышения надежности работы транзистора VT3!).
Когда же происходит КЗ, выходное напряжение на клеммах XS1 пропадает. Тогда потенциал базы транзистора VT3 оказывается выше потенциала его эмиттера, поэтому диод VD1 и транзистор VT3 открываются, закрывая собой стабилитрон VD2. Вследствие этого транзисторы VT2 и VT1 закрываются, препятствуя прохождению тока от выпрямителя на выходные клеммы XS1.
Как только причина КЗ устранена, происходит автоматическое восстановление работы блока питания, что упрощает обращение с ним. Стабистор КС119А (VD3) можно заменить тремя последовательно соединенными непременно кремниевыми диодами (например, серий КД102, КД103, КД105, КД106, КД209 и др.). Сопротивление резистора R4 зависит от напряжения выпрямления. Если вместо 18 В оно равно 14 В (при использовании трансформатора ТВК-70Л2) или 30 В (с трансформатором ТВК-110Л-1), номинал R4 нужно уменьшить до 3,9 кОм или увеличить до 8,2 кОм соответственно.
Чтобы предварительно убедиться в правильной работе собранного узла защиты, нужно катод диода VD1 временно отключить от плюсовой клеммы и соединить его с минусовой клеммой (место разрыва на схеме условно отмечено крестиком). Напряжение на выходе блока (между гнездами разъема XS1) не должно превышать 0,01 В — такое маленькое напряжение замеряют цифровым вольтметром. Если это не так, транзистор VT3 следует заменить другим.
Данную проверку проводят при различных положениях движка резистора R2. Если при чрезмерно низком (меньшем 3 В) выходном напряжении защита вдруг не срабатывает, придется продолжить подбор транзистора VT3. Ограничить выходное напряжение снизу можно, включив последовательно с переменным резистором R2 постоянный резистор небольшого номинала. Он должен связывать нижний вывод резистора R2 с минусом конденсатора С1.
Транзистор КТ379А (VT3) имеет завидно небольшое напряжение перехода «коллектор-змиттер» в открытом состоянии (менее 0,1 В). Взамен него можно установить транзистор КТ373А или транзистор серии КТ342 — с буквенным индексом А, AM, Б, БМ или даже В, ВМ. Другие транзисторы (скажем, КТ315Г) тут использовать не советую, диод ГД507А (VD1) может быть заменен другим импульсным или высокочастотным германиевым ГД508А, ГД508Б, Д18 или даже серий ГД511, Д9 или Д2. Стабилитрон Д814Д взаимозаменяем с 2С212Ж, 2СМ213А, КС213Б, 2С213Б, Е или Ж, КС512А, 2С512А или устаревшие Д811, Д813, Д815Д.
Транзистор КТ315Г (VT2) заменим на КТ315Е. Вместо транзистора КТ817Г (VT1) годится любой транзистор серий КТ815, КТ817, КТ819. Но рекомендуется выбирать транзистор с наибольшим коэффициентом усиления тока и наиболее «высоковольтный» по напряжению «коллектор-эмиттер». Это же относится и к транзистору VT2.
Если этот блок предполагается использовать в роли «адаптера», питающего только одну нагрузку, допустим, плейер, переменный резистор R2 заменяют двумя постоянными резисторами, соединенными последовательно и имеющими общее сопротивление 2 кОм. Отношение номиналов резисторов подбирают таким, чтобы на выходе блока формировалось нужное напряжение.
Но есть и другой путь. Вместо стабилитрона Д814Д устанавливают стабилитрон с более низким или более высоким напряжением стабилизации. Тогда резистор R2 вообще исключают. Сопротивление же резистора R3 должно быть другим (см. таблицу 2). Тут приведены данные по наиболее характерным выходным напряжениям стабилизатора в пределах от 3 до 25 В.

Следует учитывать, что чем больше разница между выходными напряжениями выпрямителя и стабилизатора, тем лучше качество стабилизации. Но зато тем менее экономично он работает и тем сильнее нагревается регулирующий транзистор VT1. Он должен быть помещен на теплоотвод, сделанный из алюминиевой пластины размером 40x70x2 мм. Ее закрепляют строго вертикально, а транзистор крепят снизу пластинками.
Собранный навесным монтажом блок питания с трансформатором ТВК-70Л2, ТВК110ЛМ или ТВК-110Л-2 легко умещается в корпусе 75x130x75 мм. Габариты блока с трансформатором ТВК-110Л-1 получаются немного больше. Если же вместо навесного монтажа применить печатную плату, размеры блока питания заметно сокращаются.
Этому способствуют и малые габариты моста КЦ405А (VD4). Кстати, тут годится любая диодная сборка серий КЦ405 (лучше для печатного монтажа) или КЦ402 (хуже). Можно применить и четыре диода, например, серий КД105, КД106, КД209, Д226 или даже Д7 (с трансформаторами ТВК-70Л2, ТВК-110ЛМ, ТВК-1 ЮЛ-2). Поскольку диоды Д7 германиевые, выходное напряжение выпрямителя будет увеличено приблизительно на 1 В (до 15 и 19 В соответственно). С трансформатором ТВК-110Л-1 потребуются более мощные диоды, допустим, серий КД208, КД226 или КД202. С этим трансформатором следует применять сборки серий КЦ402 или КЦ405, имеющие буквенный индекс от А до Е.
Источник: blogandbux.blogspot.com
